三年开了4000店来看企业扩张背后商标结构的聪慧
发布时间:
2026-01-10 08:07
品牌孵化:LOGO设想、瓶型设想、画册设想、网坐设想、项目筹谋、包拆筹谋、包拆设想、VI全案设想、起名筹谋、收集优化、品牌全案、招商筹谋、项目打算书、招商大会。
许可天分:停业性表演许可证、出书物运营许可证、劳务调派许可证、食物运营许可证、人力资本许可证、二类医疗排械运营存案、拍卖运营许可证、林草种子运营许可证、三类医疗器械运营许可证、电视节目制做许可证、烟草专卖零售许可证、道运输运营许可证、建建企业天分。

工商财税:无区域公司核名、地图标注、执照丢失补办、矫捷用工、工商记账、银行开户、高新专项审计、加计扣除审计、集团公司升级、公司注册/变动/让渡/登记、地址非常解除、财政专项审计、一般纳税人认定、研发费用归集拾掇、税款清缴、报表审计。
企业办事:企业信用修复、条形码申报、冠军代言、白酒定制、法令征询、股权设想、百度百科、官文发布、400德律风、新运营、无形资产增资办理征询、合同草拟、央视告白、软文营销、海外坐运营。

学问产权正在品牌识别取奇特征、品牌抽象取诺言、推进品牌增值取贸易化、提拔市场所作力以及降低运营风险等多个方面至关主要。巨商集团具有一支专业的商标品牌办事团队,为客户供给全流程处理方案,包罗注册、、运营及计谋规划。团队经验丰硕,通晓国表里律例,成功案例浩繁,帮力企业提拔品牌价值取市场所作力,办事高效靠得住,若有相关问题均可征询。
科技项目:国度高新手艺企业申报办事、“双软”企业申报办事、国度科技型中小企业申报办事(科小)、“两化”融合贯标申报办事、老字号申报、企业研发核心科技贷征询、省级研发平台申报、专精特新申报办事、非遗项目申报、沉点群体退抵税项目。

办理系统认证:ISO9001质量办理系统认证、GB/T50430建建施工行业规范、ISO28000供应链平安办理系统、IS020000消息手艺办理系统、ATF16949汽车质量办理系统、ISO14001办理系统认证、IS022000食物平安办理系统、IS022301营业持续性办理系统、ISO50001能源办理系统认证、HACCP风险阐发取环节节制点认证、ISO45001职业健康平安办理系统、ISO13485医疗器械质量办理系统、IS027001消息平安办理系统、IS037001反行贿办理系统认证、集体尺度参编。
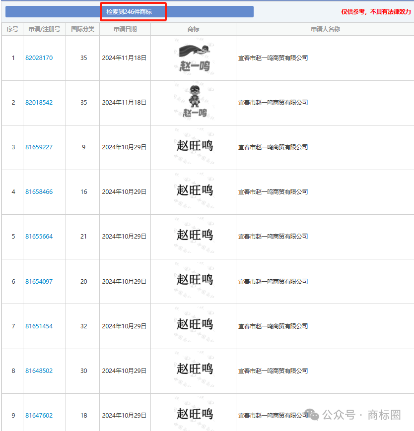
值得留意的是,赵一鸣还十分注沉防御商标的结构。其246枚商标中,“赵一鸣”商标仅有110枚,其余的满是防御商标。
不外,跟着规模的日益扩大,背后也面对着诸多取挑和,而商标结构即是其需要沉点考量的环节一环,接下来我们就一路深切领会下赵一鸣正在商标结构方面有着如何的行动和考量吧。
正在现在的市场里,商标被抢注、被盗窟的现象不足为奇,这对企业品牌的是庞大的。而赵一鸣的防御商标就好像“守护盾牌”一般,守护着品牌权益。
学问产权:商标注册(国表里)、商标买卖(国表里)、商标案件、(撤三、、无效、复审等疑问杂症)、版权登记(美术、文字等)、专利(发现、适用新型、外不雅、让渡)、学问产权托管、软件著做权登记、学问产权评估、学问产权质押、学问产权、专利、融资专利池扶植、学问产权买卖。

现代企业对商标需求越来越大,仅有一两件商标难以满脚市场所作的需求;商标的感化曾经进化,分歧商标有分歧使意图图和市场感化,商标曾经成为营销利器和合作的兵器;企业必需有灵敏的商标认识,发觉商标的分歧感化,领会商标纪律,合理规划和结构商标。
当其他不良商家想要打擦边球,操纵类似商标混合消费者视听、蹭热度的时候,防御商标就能阐扬感化,让这些侵权行为无所遁形,无力地了品牌权益。并且,即便企业本身临时晦气用,将来许可他人利用也能带来必然的经济收益,同时还为企业多元化成长供给了便当,为品牌后续拓展新的营业范畴提前铺好了,由此也能看出赵一鸣对商标的高度注沉以及久远的品牌成长目光。
互联网天分:互联网消息办事营业(ICP)、外商投资ICP/EDI、正在线数掘处置取买卖处置营业(EDI)、消息办事营业(SP)、互联网接入办事营业(ISP)、内容分发收集营业(CDN)、互联联网数揭核心办事(IDC)、增值电信营业、国内互联网虑拟公用网营业、收集文化运营许可证、互联网药品消息办事营业、动漫/音乐/曲播网文。
数字化扶植:ERP办理系统、企业官网定制坐、行业定制网坐开辟、行业定制APP开辟、CRM办理系统、万能定制高危坐、人才聘请系统、行业定制小法式开辟、域名注册存案、数字证书(SSL)、企业邮箱开通、巨商网盘系统、网坐/小法式开辟及摆设、云办事器资本(阿里/腾讯/华为)、聪慧园区办理平台、领取/短信/实人认证/工商等各类接口资本、APP开辟/上架、区块链开辟/上链、OA办理系统、EAM资产系统、学问付费系统、一物一码溯源防伪系统、巨商SaaS客服办理系统、巨商SaaS版本CRM系统。


近年来,连锁零食量贩店可见的多了起来,到处可见一条街道四五家店扎堆。正在浩繁零食店里最耀眼的莫过于赵一鸣了,2019年成立之初,赵一鸣也是从一家小炒货店起步,然后拓展逐渐涉脚零食范畴,2021年起赵一鸣起头加快扩张,竟正在三年里开出了4000多店,布满各个城市的大街冷巷,门店规模取品牌出名度由此飙升。
绿碳天分:温室气体核查声明、产物碳脚印证书、绿色供应链认证证书、ESG演讲、平安靠得住性评价演讲、能源耗损评价演讲、碳中和证书、零碳工场认证证书、绿色企业认证证书、平安评价演讲、绿色工场评价演讲、企业社会义务演讲、三废演讲。
巨商科技办事无限公司(巨商网)成立于2019年,定位为以学问产权为焦点的一坐式立异创业办事平台。公司成立之初就立下了“让企业少走弯,让员工成长幸福”的取初心,一直“受人之托,忠人之事”的办事,一直执念以严谨思维去办事客户,做值得相信的一坐式企业办事平台。巨商别离正在、西安、洛阳、成都、上海等地设置区域运营核心,搭建了200余人的专业参谋办事团队,整合孵化跨越500项优良企业办事产物,赋能提拔企业雇从品牌化、科技化、数字化程度,通过建立专业化赋能中台+区域运营核心系统,为企业雇从供给从企业创立、成长、强大整个生命周期所需的各项专业办事。巨商立志成为中国最具价值的立异创业办事平台,系统性帮帮企业雇从提拔品牌抽象、聪慧、提高运营效率,帮力企业由小变大、由大变强!
消息天分:CMMI软件力成熟度模子集成(三-五级)、CCRC消息平安办事天分八大类、ITSS消息手艺办事尺度(一到四圾)、CS优息系统扶植和办事能力评估(CS1-CS5级)、CCID消息系统办事商交付箭力评估(四到一级)、涉密消息系统集成天分(集成/开辟/安监)、DCMM数据办理能力成熟度评估模子、两化融合办理系统。
企业信用品级:AA信用企业、AA资信企业、诚信司理人/诚信企业家、AA质量办事诚信企业、AA沉合同取信用企业、AA沉办事取信用企业、AA沉质量取信用企业、AA诚信运营示范单元、AA诚信供应商。
军工天分:标!兵器配备质量办理系统认证、保密天分(武群配备科研出产单元二级保密资历证书)、承制资历A类(军选军用),B类(军选平易近用)、科研出产许可证(兵器配备科研出产许可)。
下一篇:2025年食物平安监督工做回首
下一篇:2025年食物平安监督工做回首
推荐新闻